Raspberry Pi Zero 2 W Drives Wii Nunchuck Wireless Mouse
Get Tom's Hardware's best news and in-depth reviews, straight to your inbox.
You are now subscribed
Your newsletter sign-up was successful
It’s no secret that we love old hardware here at Tom’s Hardware, and if you can shove a Raspberry Pi in it, we’re even more interested. Such is the case today with Adrian Papineau’s Raspberry Pi Zero 2 W-powered Wii nunchuck wireless mouse, a creation he calls the PiChuck. It’s battery-powered, and you can take it on the go for use as an input device for his wearable display glasses.
Papineau first created this project a few years ago but has been recently upgraded to use the Raspberry Pi Zero 2 W. According to Papineau, the joystick moves the cursor around while the buttons function as mouse clicks. As a result, it makes it possible for him to browse the internet and check the news while out and about on walks.
Papineau describes himself as a mechanical engineering tech and a general tech hobbyist. His experience shines in this project and his history of work covering things from custom mechanical keyboards to various 3D-printed designs available over at Thingiverse. This project combines his love of microelectronics and 3D printing with a custom shell made to fit the Pi Zero inside of a Wii nunchuck.
Article continues below


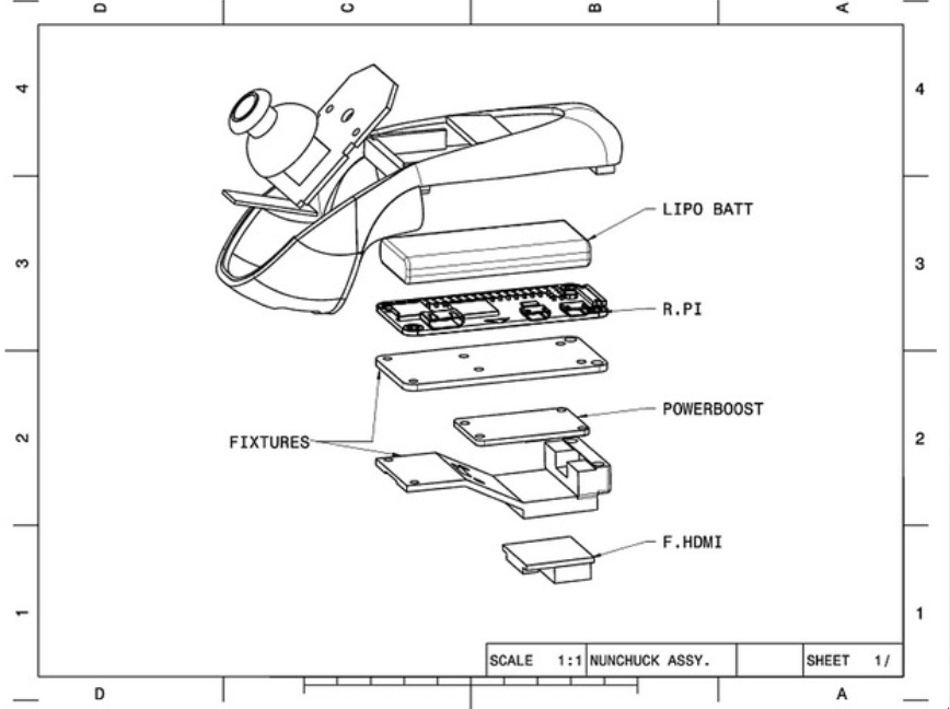
A fair bit of hardware is required to get this project off the ground, including a spare Wii nunchuck, a Raspberry Pi Zero 2 W, and a 3D printer for creating the mounting frame inside the hand grip. In addition, it needs an Adafruit Powerboost 1000 charger and a battery, in this case, a 750mAH 3.7V Holy Stone Model 752555, to make everything mobile. Finally, it uses an HDMI ribbon cable assembly to connect the Pi Zero nunchuck to his Vufine display.
It requires a few tools to get the Pi to read the signal from the Wii nunchuck joystick, specifically this library created by Boeeerb over at GitHub. The cursor control is Python-based and uses a module known as Pynput found over at PyPi.
If you want to recreate this Raspberry Pi project or get a better idea of how it all goes together, check out the original thread shared on Reddit and explore the project page at Thingiverse for an up-close look at the mounting hardware used to house the Pi.
Get Tom's Hardware's best news and in-depth reviews, straight to your inbox.

Ash Hill is a contributing writer for Tom's Hardware with a wealth of experience in the hobby electronics, 3D printing and PCs. She manages the Pi projects of the month and much of our daily Raspberry Pi reporting while also finding the best coupons and deals on all tech.