Intel Patents Thread Scheduling
Intel has been awarded a patent that provides basic information about the company's thread scheduling approach in multi-processor computers. Filed on March 26, 2007 the USPTO confirmed the rights to it earlier this week.
Get Tom's Hardware's best news and in-depth reviews, straight to your inbox.
You are now subscribed
Your newsletter sign-up was successful
The patent include the idea to leverage stored instructions in a computer system to "assign two threads to processors based on bandwidth utilization of the two threads in combination; determine whether the bandwidth utilization of the two combined threads exceeds a threshold value; use a cache simulator to construct a coupling degree matrix; use a software library to develop said coupling degree matrix; and use the coupling degree matrix to allocate threads to processors when the bandwidth utilization does not exceed said threshold."
Also claimed are instructions that provide information on whether the bandwidth utilization exceeds a threshold of 15 percent, as well as a capability to store "the coupling degree matrix by rating two threads in terms of the total amount of accesses to cache lines shared between two threads," as well as a "scheduler to determine the coupling degree matrix by rating the threads in terms of the total amount of accesses to cache lines."
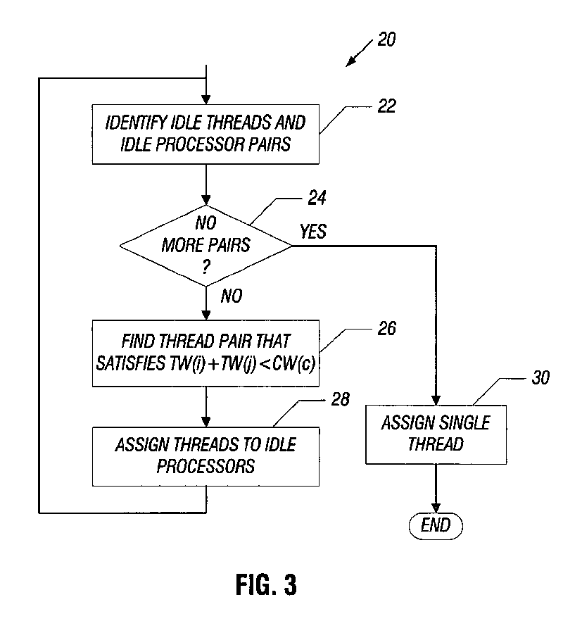
In the scheduling process, idle threads and idle process pairs are first identified and a loop to check for more pairs is launched, after which threads to idle processors are assigned. This process repeats until all process pairs have been covered. As soon as no more pairs are available, the loop may identify an individual thread that is assigned to a process.
Article continues belowThe patented scheduler uses information about the location of data between threads and bandwidth demand to evaluate thread allocation for performance purposes. According to the patent, bandwidth utilization is considered the highest priority in determining the thread schedule, followed by data location. The document concludes that, if a bandwidth threshold of co-scheduled threads on one cluster exceeds a certain level, "for example 15 percent", the system would schedule the threads on different clusters. If the utilization is below the defined level, the system assumes that closely coupled threads on one cluster would achieve higher performance.
Get Tom's Hardware's best news and in-depth reviews, straight to your inbox.

Douglas Perry was a freelance writer for Tom's Hardware covering semiconductors, storage technology, quantum computing, and processor power delivery. He has authored several books and is currently an editor for The Oregonian/OregonLive.
-
jprahman killabankssounds like maybe a patent for hyperthreading?It certainly does, at least as an improvement to it. A major disadvantage of Hyper-threading in the P4 was that two threads running on the same processor could interfere with each others cache lines. It is possible that the reason behind the reintroduction of Hyper-threading in the Nehalem architecture was that Intel was able to implement this technology, or something similar, and as a result was able to achieve a larger performance gain from Hyper-threading.Reply -
bison88 kensingtronDid anyone else find the details of this article flew over their head?Reply
As do most things when it's in regards to patents. You practically need a doctorate to read 'em and a lawyer to write them. -
jackt I dont know... all those useless calculation for every thread... it will take a bit of bandwidth...Reply
Does it worth it ?
Then we wonder why a quad core is not 4 times powerfull than a smame clock single core. -
TheFoxyBox jackt?Then we wonder why a quad core is not 4 times powerfull than a smame clock single core.Reply
Because cores don't scale perfectly? Plus you also have to factor in the software you're using, cache, architecture, pipelining, 32- or 64-bit etc. -
theuniquegamer Patent every thing you discover ASAP Before apple knows it and gets it patented .Reply
